Un bambino che di colpo mostra il suo...lato debole
Clinica Pediatrica, Pisa
Federico, 10 mesi, viene condotto in pronto soccorso per aver presentato, in pieno benessere, un episodio critico caratterizzato da lateralizzazione dello sguardo verso sinistra e restrizione dello stato di coscienza, della durata complessiva di circa 20 minuti, a risoluzione spontanea. All�esame obiettivo il bambino si presenta in buone condizioni generali, appare vigile e reattivo; a una prima valutazione l'esame neurologico risulta normale per l'et�. I parametri vitali sono nella norma e si decide di trattenere il bambino in osservazione.
A una rivalutazione a distanza di alcune ore, Federico mostra per� insorgenza progressiva di sfumati segni di lato: dapprima una moderata ipomobilit� dell'arto superiore sinistro (il bambino, riferito tendenzialmente destrimane, afferra gli oggetti quasi esclusivamente con la mano destra, utilizzando l'arto superiore sinistro in maniera incerta e solo se forzato), alla quale si associa anche una deviazione della rima buccale, sempre a sinistra, evidente soprattutto quando sorride o durante il pianto. Infine, si osserva che l'arto inferiore sinistro risulta ipomobile e nella stazione seduta il bambino tende a cadere verso sinistra.
Tali sintomi neurologici inducono a richiedere la consulenza del Neurochirurgo che sottolinea la necessit� di eseguire una diagnostica per immagini del sistema nervoso centrale: nel sospetto di una formazione espansiva intracranica, si richiede quindi una RM encefalo. Nel frattempo vengono eseguiti esami ematici che risultano nella norma.
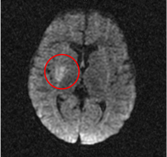
Alla risonanza non vengono evidenziate formazioni espansive, ma viene rilevata �un'area ischemica in sede lenticolare, nella porzione media della corona radiata e alla giunzione testa-corpo del nucleo caudato di destra�. L'angio-RM eseguita a completamento diagnostico documenta una settoriale occlusione dell'apice del sifone carotideo di destra, con riduzione di calibro della carotide interna a monte che risulta filiforme nel suo tratto intracranico; le arterie cerebrali anteriore e media di destra risultano riperfuse attraverso un vaso comunicante. (Figura 1 e Figura 2). Al fine di escludere condizioni cardiologiche predisponenti, viene eseguita anche una ecocardiogramma che risulta nella norma.
Viene quindi impostata terapia con acido acetilsalicilico ed eparina a basso peso molecolare e viene iniziata infusione di soluzione fisiologica per il mantenimento di valori pressori adeguati. Il bambino viene infine trasferito presso la Neurologia Pediatrica, per effettuare esami ematici e strumentali mirati ad evidenziare eventuali condizioni predisponenti all'evento vascolare acuto occorso.
Commento:
Lo stroke in et� pediatrica � un evento raro (3-10 casi / 100.000 anno), ma non eccezionale che rappresenta una importante causa di disabilit� con una incidenza sovrapponibile, se non addirittura maggiore, rispetto a quella delle neoplasie del SNC.
� importante non trascurare tale ipotesi diagnostica in presenza di episodi critici epilettiformi o altri segni neurologici, soprattutto in apiressia, o quando vi siano condizioni predisponenti note.
Nel caso di stroke arterioso ischemico � di fondamentale importanza instaurare una immediata terapia antiaggregante e mantenere nella norma i livelli di pressione arteriosa e della saturazione di ossigeno.
Infine, di fronte ad un evento ischemico, appare fondamentale ricercare eventuali cause predisponenti, al fine di prevenire l'insorgenza nuovi eventi vascolari acuti.

Figura 1. Area ischemica in sede lenticolare, nella porzione media della corona radiata e alla giunzione testa-corpo del nucleo caudato di destra.

Figura 2. occlusione dell'apice del sifone carotideo di destra, con riduzione di calibro della carotide interna a monte.

